Electric Power Generation: Nidec Power - Leroy Somer
Pure Energy Solutions for Sub-Saharan Africa

SAE Flange & Disc
The Best of Performance
For all Leroy Somer Spare Parts please contact:
Martin Ward
- Email: martin.ward@vertgroup.co.za
- Tell: +27 (0)11 453 9669
- Mobile: +27 (0)76 578 5666
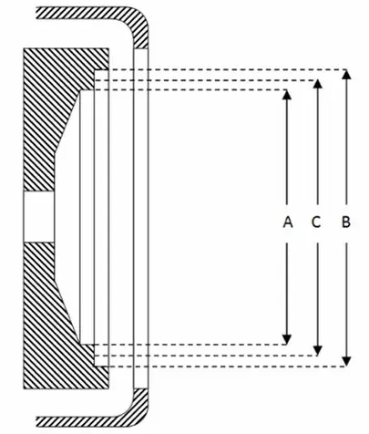
Engine Bell Housing: Flange Sizing and Diagram

Flange Dimensions
Spigot
- SAE A
- 00 784.40
- 0 647.70
- 1/2 584.20
- 1 511.17
- 2 447.67
- 3 409.57
- 4 361.95
- 5 314.32
- 6 266.70
-
Unit of Length: mm
OD
- SAE B
- 00 882.65
- 0 711.20
- 1/2 647.70
- 1 552.45
- 2 488.95
- 3 450.85
- 4 403.22
- 5 355.60
- 6 307.97
-
Unit of Length: mm
PCD of Holes
- SAE C
- 00 850.90
- 0 679.45
- 1/2 619.12
- 1 530.22
- 2 466.72
- 3 428.62
- 4 381.00
- 5 333.37
- 6 285.75
-
Unit of Length: mm
Hole
-
SAE
- 00 16
- 0 16
- 1/2 12
- 1 12
- 2 12
- 3 12
- 4 12
- 5 8
- 6 8
Size
-
SAE
- 00 1/2 - 13
- 0 1/2 - 13
- 1/2 1/2 - 13
- 1 7/16 - 14
- 2 3/8 - 16
- 3 3/8 - 16
- 4 3/8 - 16
- 5 3/8 - 16
- 6 3/8 - 16
Flywheel Housing: Disc Sizing and Diagram

Disc Dimensions
Spigot
- SAE A
- 6 1/2 184.15
- 7 1/2 206.24
- 8 225.55
- 10 276.35
- 11 1/2 314.45
- 14 409.44
- 16 460.24
- 18 498.34
- 21 584.20
- 24 644.65
-
G M71
-
Unit of Length: mm
OD of Disc
- SAE B
- 6 1/2 215.90
- 7 1/2 241.30
- 8 263.52
- 10 314.32
- 11 1/2 352.42
- 14 466.72
- 16 517.52
- 18 571.50
- 21 673.10
- 24 733.42
- G M71 450.85
-
Unit of Length: mm
PCD of Holes
- SAE C
- 6 1/2 200.02
- 7 1/2 222.25
- 8 244.47
- 10 295.27
- 11 1/2 333.37
- 14 438.15
- 16 488.95
- 18 542.92
- 21 641.35
- 24 692.15
-
G M71
-
Unit of Length: mm
Spacing
- SAE G
- 6 1/2 30.23
- 7 1/2 30.23
- 8 61.98
- 10 53.84
- 11 1/2 39.62
- 14 25.40
- 16 15.75
- 18 15.75
- 21 0
- 24 0
- G M71 17.82
-
Unit of Length: mm
Holes
-
SAE
- 6 1/2 6
- 7 1/2 8
- 8 6
- 10 8
- 11 1/2 8
- 14 8
- 16 8
- 18 6
- 21 12
- 24 12
- G M71 4 X 2
-
Unit of Length: mm
Size
- SAE A
- 6 1/2 5/16 - 18
- 7 1/2 5/16 - 18
- 8 3/8 - 16
- 10 3/8 - 16
- 11 1/2 3/8 - 16
- 14 1/2 - 13
- 16 1/2 - 13
- 18 5/8 - 11
- 21 5/8 - 11
- 24 3/4 - 10
-
G M71
-
Unit of Length: mm
Double Bearing Shaft Dimensions

Shaft Dimensions
Shaft Length
- Model A
- LSAP 40 80
- LSAP 42.3 82
- LSAP 44.3 105
- LSAP 46.3 105
- LSAP 47.3 130
- LSA 49.3 165
- LSA 50.2 210
- LSA 52.3 250
- LSA 53.2 230
- LSA 54.2 230
-
Unit of Length: mm
Shaft Dia (Excl Key)
- Model B
- LSAP 40 42
- LSAP 42.3 48
- LSAP 44.3 65
- LSAP 46.3 75
- LSAP 47.3 85
- LSA 49.3 100
- LSA 50.2 120
- LSA 52.3 150
- LSA 53.2 150
- LSA 54.2 150
-
Unit of Length: mm
Shaft Thread
- Model C
- LSAP 40 M6
- LSAP 42.3 M6
- LSAP 44.3 M20
- LSAP 46.3 M20
- LSAP 47.3 M20
- LSA 49.3 M24
- LSA 50.2 M24
- LSA 52.3 M30
- LSA 53.2 M30
- LSA 54.2 M30
Key Width
- Model D
- LSAP 40 12
- LSAP 42.3 14
- LSAP 44.3 18
- LSAP 46.3 20
- LSAP 47.3 22
- LSA 49.3 28
- LSA 50.2 32
- LSA 52.3 36
- LSA 53.2 36
- LSA 54.2 36
-
Unit of Length: mm
Key Height / Depth
- Model E
- LSAP 40 8
- LSAP 42.3 8
- LSAP 44.3 11
- LSAP 46.3 12
- LSAP 47.3 14
- LSA 49.3 16
- LSA 50.2 18
- LSA 52.3 20
- LSA 53.2 20
- LSA 54.2 20
-
Unit of Length: mm
Overall Height Shaft
- Model F
- LSAP 40 45
- LSAP 42.3 51.5
- LSAP 44.3 69
- LSAP 46.3 79.5
- LSAP 47.3 90
- LSA 49.3 106
- LSA 50.2 109
- LSA 52.3 158
- LSA 53.2 158
- LSA 54.2 158
-
Unit of Length: mm
Experience Across All Sectors
DOWNLOAD:
Brochures
Technical Data Sheet
Options
Drawings
Maintenance and Parts Manual